开庭!开庭!甬兴证券
炒股就看金麒麟分析师研报,权威,专业,及时,全面,助您挖掘潜力主题机会!
来源:券业行家
仅有600余名员工的甬兴证券,“同步”新增两则劳动争议诉讼,均来自业已跳槽友商的员工。这一情况,似乎不太寻常。
密集涉诉的公告
距“总裁变更”和“监管双罚”已有数月,业内唯一一家宁波籍券商甬兴证券,再度出现在行家视野中。原因来自两起开庭公告——

在行家印象中,甬兴证券的人员规模不大。2021年到2024年,从业人员分别为461名、597名、663名和648名,排在行业百名左右。另据企查查显示,甬兴证券2023年总部参保人员224名,分支机构参保人员316名。顺便一提,甬兴证券2022年到2024年陆续撤销了多家分支机构,但人员数量似乎并没有相应减少。
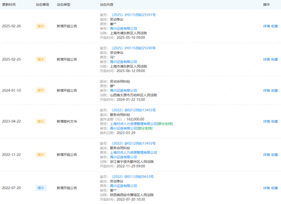
然而,自2022年7月以来,企查查收录的6则涉诉信息,可以说均与“人事”有关——不仅涉及和员工的劳动纠纷,甚至还有和人才猎头的纠纷。

以甬兴证券的体量来看,劳动争议的密度,是不是有些高呢?
火速跳槽的纠纷
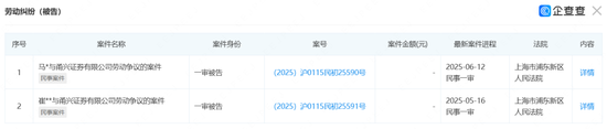
细看最新公告的两起劳动争议,从当事人的任职信息中,行家找到了更多相似之处。
其中一起案件的当事人崔某某,在2018年7月登记执业于宏信证券固定收益部,2021年8月加入甬兴证券。任职刚满一年,她于2023年9月加入世纪证券。
另一起案件的当事人马某,2017年3月任职于宏信证券固定收益部,2021年8月加入甬兴证券;同样的,他也是在2023年9月加入世纪证券。
来自同一家券商固收部门的两名员工,跳槽加入甬兴证券,任职年余再度跳槽。而在离职近两年后,又”不约而同“的起诉甬兴证券。这让行家怀疑,究竟发生了什么?
连续数年的亏损
公开数据显示,甬兴证券成立以来仅有2021年盈利。2022年和2023年分别录得亏损2.04亿元和1.60亿元的亏损。
甬兴证券在年报中披露了各条线的数据——
2022年,经纪业务净收入7,206.99万元,其中代理买卖证券业务净收入2,828.79万元,交易单元席位租赁净收入4,269.71万元,代理销售金融产品净收入108.49万元。投资银行业务净收入16,022.11万元,其中承销业务净收入9,752.02万元,保荐业务净收入1,099.06万元,财务顾问业务净收入5,171.03万元。资产管理业务净收入1,066.81万元。投资咨询业务净收入255.57万元。利息净收入-1,299.15万元。投资收益9,361.23万元,占总收入比重为42.57%;其中:证券投资业务实现投资收益-3,349.25万元,固定收益业务实现投资收益12,430.99万元。持有金融资产公允价值变动损益-10,916.15万元。其中自营业务公允价值变动损益-7,129.94万元,委外投资业务公允价值变动损益-3,848.90万元。
2023年,证券经纪业务净收入6,553.15万元,其中代理买卖证券业务净收入3,255.46万元,交易单元席位租赁净收入3,038.76万元,代理销售金融产品净收入258.93万元。投资银行业务净收入13,255.72万元,其中承销业务净收入7,495.66万元,保荐业务净收入1,098.11万元,财务顾问业务净收入4,661.95万元。资产管理业务净收入1,902.91万元;投资咨询业务净收入250.39万元。利息净收入864.92万元,占总收入比重为2.64%。投资收益6,940.58万元,占总收入比重为21.26%;其中证券投资业务实现投资收益-7,261.90万元,固定收益业务实现投资收益13,097.69万元。持有金融资产公允价值变动收益2,665.06万元。其中自营业务公允价值变动收益3.601.35万元,委外投资业务公允价值变动损失-1.710.55万元。
如果两位当事人在甬兴证券任职于固收部门,按说这是近年来表现最为突出的业务。为何会离开,的确有些奇怪。
换将之后的表现
2024年10月,甬兴证券官宣“换将”。因即将到龄退休,刘化军不再担任总裁职务,转任高级顾问兼首席风险官。原光大期货总经理闻明刚出任总裁。
上任数月来,除宁波证监局一则公告显示,其拟任宁波市证券期货业协会会长外,这位券商总裁几乎没有对外活动的信息。
而在2024年11月,宁波证监局对甬兴证券宁波分公司及负责人李泽楷采取监管警示措施。原因包括:未能勤勉尽责、审慎履职,全面了解客户情况,未有效核实个别客户的职业、收入来源和资产等;未建立有效的异常交易分析处理机制;客户交易行为管理等内控制度执行不到位,内部流程不规范。
对这位履新未久的老将来说,如何将甬兴证券的业绩与合规管理带上正轨,可能是2025开年最重要的议题。
相关文章

最新评论