露馅了...... 川财证券管理“不善”!
炒股就看金麒麟分析师研报,权威,专业,及时,全面,助您挖掘潜力主题机会!
来源:券业行家
因一则“间接”披露的监管处罚信息,行家了解到川财证券的“两会”,出现了令人担忧的情况。
来自股东方的信披
12月17日,知名央企中国华电集团产融控股有限公司(简称:华电产融)公告披露旗下重要子公司川财证券有限责任公司(简称:川财证券)受到行政监管措施。

公告载明,四川证监局在2024年12月10日对川财证券下发监管函,指出其存在董事及监事设置情况不符合规定、董事及监事的选举未采用累积投票制度、未建立董事及监事绩效考核与薪酬管理制度等问题。上述行为违反了《证券公司股权管理规定》第四条第二款《证券公司治理准则》第十六条、第十七条第二款、第三十条、第六十二条的规定。
据悉,川财证券在收到行政监管措施决定书后立刻加紧内部整改工作,将根据《证券公司股权管理规定》等法律法规进一步完善公司董事及监事设置、董事及监事的选举制度,设立对董事及监事的绩效考核与薪酬管理制度,按照监管机构要求及时报送整改情况说明。
曾有多项处罚
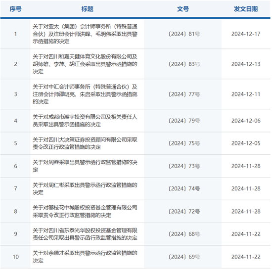
出于好奇,行家查看了四川证监局官网,发现行政监管措施栏的序号存在“空缺”。
以内文日期来看,四川证监局在12月2日更新发布了《关于对成都市瀚宇投资有限公司及相关责任人员采取出具警示函措施的决定》( 〔2024〕79号)。12月10日更新发布了《关于对亚太(集团)会计师事务所(特殊普通合伙)及注册会计师洪峰、毛明伟采取出具警示函措施的决定》(〔2024〕81号)和《关于对四川和嘉天健体育文化股份有限公司及胡师雄、李萍、胡江会采取出具警示函措施的决定》(〔2024〕83号)。本次对川财证券的处罚,是否是尚未公开发布的〔2024〕80号或〔2024〕82号监管函呢?

再往前翻,从2019年9月至2023年12月,四川证监局先后六次对川财证券出具监管函,涉及债券业务、资管业务,以及合规管理和内部控制问题。包括时任分管债券业务副总裁吴琼,时任总裁助理、资产管理部总经理王海阳,固定收益部时任总经理安健,时任投资经理赵彤,均被监管处罚。

与对具体业务和人员的违规处罚不同,本次监管剑指川财证券的“两会”违规,在券商领域并不多见。
高管团队更替
对照中证协、工商信息和川财证券官网,行家梳理了川财证券高管团队及变更信息:
2020年5月,雒冬春任监事会主席;蒲杰任财务总监。
2021年9月,原万联证券副总裁兼研究所所长崔秀红女士加盟川财证券,任总经理、法定代表人。
2022年11月,蒲杰任副总裁,继续兼任财务总监。
2023年9月,王刚任董事会秘书。
2023年11月,原董事长金树成到龄退隐,吴琼出任董事长。
从董监高名单来看,自2013年起便出现在高管序列中的徐正文,身兼副总裁、合规总监、首席风险官和首席信息官,并且在董事会中担任职工董事。除此之外,川财证券的“两会”人员均不是在任高管。
现任董事长吴琼,在分管高管任内曾被处罚的记录已“消失”。但他何时卸任副总裁,未见公开报道。

后续,川财证券将如何遵循监管要求,对董事会和监事会进行整改?是否会涉及重要人员的调整,尚没有更多信息。
业绩尚待更新
月前,由中信建投证券牵头担任受托管理人,川财证券和海通证券担任联席主承销商,华电产融2024年面向专业投资者公开发行公司债券(第二期)(“24华产02”)完成发行。
川财证券作为华电产融主要子公司,出现在“24华产02”募集说明书中。2023年,川财证券营业收入3.53亿元,净利润0.25亿元,主要系手续费及佣金净收入、投资收益均同比上升。

为了解更多业绩情况,行家查看了川财证券在中证协发布的历年年报。单看净利润数据,川财证券在2019年及2020年均为亏损状态,净利润分别为-1.00亿元及-0.72亿元。2021年,川财证券扭亏为盈,当年净利润为52.98万元。2022年和2023年,净利润为1,016.18万元和2,451.50万元,实现持续盈利。
2024年度又是尾声,川财证券最新业绩如何,不久之后自会分晓。在充满挑战与机遇的券业江湖,这家老牌券商的合规管理,是否能迎来新的起色呢?
相关文章

最新评论