“运动式”的IPO受理?一晚上41家IPO企业受理!
分类一
2025年06月30日 23:00 24
admin
炒股就看金麒麟分析师研报,权威,专业,及时,全面,助您挖掘潜力主题机会!
来源:投行最前线
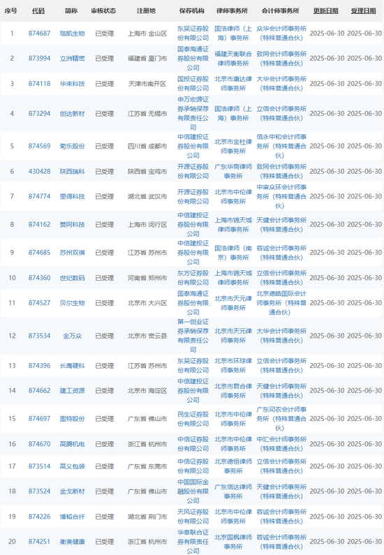
6月30日,北交所受理32家,科创板受理5家,深交所受理4家,真是要把北交所做大做强了,简简单单发个受理名单,大家感受一下:




相关文章

最新评论